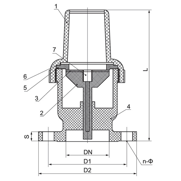
PVC-U H42F-10U 底阀 DN50-200 2"-8"美标

首页 / 产品中心 / 塑料阀门系列 / 底阀 / PVC-U H42F-10U 底阀 DN50-200 2"-8"美标