1. 密封件膜片采用 F46 或 PFA 制造,耐折次数≥ 120000 次,耐腐蚀性能与 F4 相当。
2. 采用螺杆升降结构,启闭力矩小,平稳性好。
| 材料 |
介质温度℃ |
材料 |
介质温度℃ |
| 氯化聚氯乙烯(PVC-C) |
-20℃~+95℃ |
聚氯乙烯(PVC-U) |
-5℃~+45℃ |
| 增强聚丙烯(FRPP) |
-20℃~+120℃ |
均聚聚丙烯(PPH) |
-20℃~+110℃ |
| 聚偏二氟乙烯(PVDF) |
40℃~+150℃ |
|
|
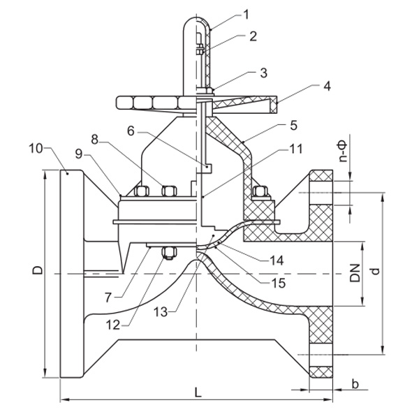
| 件号 |
零件名称 |
材料 |
数量 |
| 1 |
透明罩 |
AS |
1 |
| 2 |
指示螺母 |
钢 |
1 |
| 3 |
压紧螺母 |
65Mn |
1 |
| 4 |
手轮 |
FRPP,FRPP,FRPP,PPH,FRPP |
1 |
| 5 |
阀盖 |
PVC-C,PVC-U,PVDF,PVDF,FRPP |
1 |
| 6 |
阀母 |
镀铜 |
1 |
| 7 |
下压板 |
钢 |
|
| 8 |
螺栓 |
钢 |
|
| 9 |
上压板 |
钢 |
|
| 10 |
阀体 |
钢/不锈 |
|
| 11 |
阀杆 |
PVC-C,PVC-U,PVDF,PVDF,FRPP |
1 |
| 12 |
螺帽 |
PVC-C,PVC-U,PVDF,PPH,FRPP |
1 |
| 13 |
阀瓣 |
PVDF,铁 |
1 |
| 14 |
膜垫 |
EPDM |
1 |
| 15 |
膜片 |
F46/PFA/PTFE |
1 |

| 规格 |
d (mm) |
D (mm) |
L (mm) |
b (mm) |
n-Ф (mm) |
| 1/2"(15) |
60 |
95 |
125 |
14 |
4-Φ16 |
| 3/4"(20) |
70 |
115 |
135 |
18 |
4-Φ16 |
| 1"(25) |
79 |
115 |
145 |
18 |
4-Φ16 |
| 1¼"(32) |
89 |
135 |
160 |
18 |
4-Φ18 |
| 1½"(40) |
98 |
145 |
180 |
20 |
4-Φ19 |
| 2"(50) |
121 |
160 |
210 |
22 |
4-Φ19 |
| 2½"(65) |
140 |
180 |
250 |
24 |
4-Φ19 |
| 3"(80) |
152 |
195 |
300 |
24 |
8-Φ19 |
| 4"(100) |
191 |
229 |
350 |
26 |
8-Φ19 |
| 5"(125) |
216 |
250 |
400 |
30 |
8-Φ22 |
| 6"(150) |
241 |
280 |
455 |
30 |
8-Φ23 |
| 8"(200) |
299 |
343 |
570 |
40 |
8-Φ23 |
| 10"(250) |
362 |
406 |
680 |
40 |
12-Φ23 |