1. 工程塑料系列球阀采用 FRPP、PVDF、PVC-C、PVC-U、PPH 等耐腐蚀热塑性塑料一次注塑成形,有较强抗腐能力。
2. 密封可靠、启闭力矩小。
3. 流体阻力小、启闭迅速。
4. 结构简单、外形美观。
| 材料 |
介质温度℃ |
材料 |
介质温度℃ |
| 氯化聚氯乙烯(PVC-C) |
-20℃~+95℃ |
聚氯乙烯(PVC-U) |
-5℃~+45℃ |
| 增强聚丙烯(FRPP) |
-20℃~+120℃ |
均聚聚丙烯(PPH) |
-20℃~+110℃ |
| 聚偏二氟乙烯(PVDF) |
40℃~+150℃ |
|
|
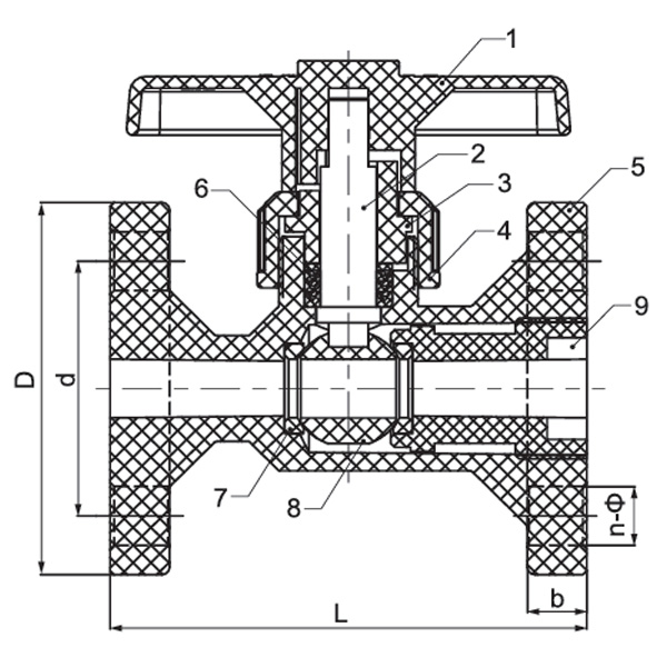
| 件号 |
零件名称 |
材料 |
数量 |
| 1 |
手柄 |
合金料 |
1 |
| 2 |
阀杆 |
PVC-C,PVC-U,PVDF,PPH,FRPP |
1 |
| 3 |
定位圈 |
PVC-C-C,PVC-U,PVDF,PVC-C-C,PVC-C |
1 |
| 4 |
压紧螺母 |
PVC-C,PVC-U,PVDF,PPH,FRPP |
1 |
| 5 |
阀体 |
PVC-C,PVC-U,PVDF,PPH,FRPP |
1 |
| 6 |
球密封圈 |
PTFE |
4/5 |
| 7 |
头颈密封圈 |
PTFE |
2 |
| 8 |
球 |
PVC-C,PVC-U,PVDF,PPH,FRPP |
1 |
| 9 |
密封座 |
PVC-C,PVC-U,PVDF,PPH,FRPP |
1 |

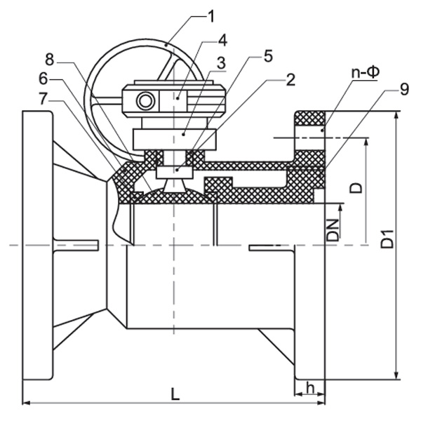
| 件号 |
零件名称 |
材料 |
数量 |
| 1 |
手轮 |
铸铁 |
1 |
| 2 |
阀杆 |
(FRPP,FRPP,PVDF,FRPP,FRPP)+铁 |
1 |
| 3 |
限位圈 |
(PVC-C,PVC-C,PVDF,PVC-C,PVC-C)-C |
1 |
| 4 |
蜗轮头 |
铸铁 |
1 |
| 5 |
密封圈 |
PTFE |
1 |
| 6 |
阀体 |
PVC-C,PVC-U,PVDF,PPH,FRPP |
4/5 |
| 7 |
密封圈 |
PTFE |
2 |
| 8 |
球 |
PVC-C,PVC-U,PVDF,PPH,FRPP |
1 |
| 9 |
密封座 |
PVC-C,PVC-U,PVDF,PPH,FRPP |
1 |

| 规格 |
d (mm) |
D (mm) |
L (mm) |
b (mm) |
n-Ф (mm) |
| 2"(50) |
121 |
160 |
185 |
22 |
4-Φ19 |
| 4"(100) |
191 |
215 |
285 |
25 |
8-Φ19 |
| 5"(125) |
216 |
245 |
357 |
31 |
8-Φ22 |
| 6"(150) |
241 |
280 |
410 |
30 |
8-Φ23 |
| 规格 |
d (mm) |
D (mm) |
L (mm) |
b (mm) |
n-Ф (mm) |
| 8"(200) |
299 |
335 |
400 |
35 |
8-Φ23 |
| 10"(250) |
362 |
406 |
450 |
38 |
12-Φ25 |