1. 耐腐蚀
阀门整体采用新型塑料制造。对于各种酸碱介质都有较强的抗腐蚀性。
2. 流量大
阀门结构设计合理,从而减少整个管路的阻力,使介质能够顺利地通过,从而降低了压力的损失,保证了流量。
3. 止回性
结构简单,不易受其它因素的影响,所以具有优良的止回性。
4. 小而轻
阀门整体形状小巧,适合安装在狭小空间内。
| 材料 |
介质温度℃ |
材料 |
介质温度℃ |
| 氯化聚氯乙烯(PVC-C) |
-20℃~+95℃ |
聚氯乙烯(PVC-U) |
-5℃~+45℃ |
| 增强聚丙烯(FRPP) |
-20℃~+120℃ |
均聚聚丙烯(PPH) |
-20℃~+110℃ |
| 聚偏二氟乙烯(PVDF) |
40℃~+150℃ |
|
|
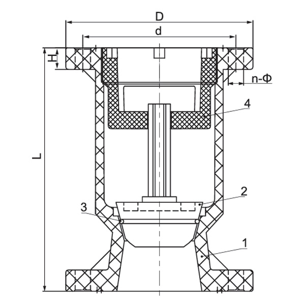
| 序号 |
零件名称 |
材料 |
数量 |
| PVC-C |
PVC-U |
PVDF |
PPH |
FRPP |
| 1 |
阀体 |
PVC-C |
PVDF |
PPH |
FRPP |
1 |
| 2 |
球芯 |
PVC-C |
PVDF-C |
PVC-C |
1 |
| 3 |
密封橡胶 |
FPM |
1 |
| 4 |
密封座 |
PVC-C |
PVC-U |
PVDF |
PPH |
FRPP |
1 |
| 规格 |
d(mm) |
D(mm) |
L(mm) |
b(mm) |
n-Φ(mm) |
| 2"(50) |
121 |
160 |
185 |
22 |
4-Φ19 |
| 4"(100) |
191 |
215 |
285 |
25 |
8-Φ19 |
| 5"(125) |
216 |
245 |
357 |
31 |
8-Φ22 |
| 6"(150) |
241 |
280 |
410 |
30 |
8-Φ23 |
| 8"(200) |
299 |
335 |
400 |
35 |
8-Φ23 |
| 10"(250) |
362 |
406 |
450 |
38 |
12-Φ25 |